中国白酒历史悠久,也称烧酒、蒸馏酒,距今已有上千年的历史,是中国劳动人民智慧的结晶,在中国的历史和文化中留下了深深的记忆。“煮酒论英雄”、“杯酒释兵权”等典故都是历史中的精彩篇章。那么中国的白酒有哪些香型?怎么进行区分呢?

白酒香型的来历
中国白酒的香型是不同地域酿酒技艺多样化发展的历史产物,并形成了各自的代表酒。建国后,国家开始对各个不同种类的名酒进行研究,并找出了其各自本质的特点,并在此基础上陆续确立了各个白酒的香型,也就是说,白酒的香型是对酿酒工艺、酒体特点等的总结,也是对酒的进行的人为的区分。
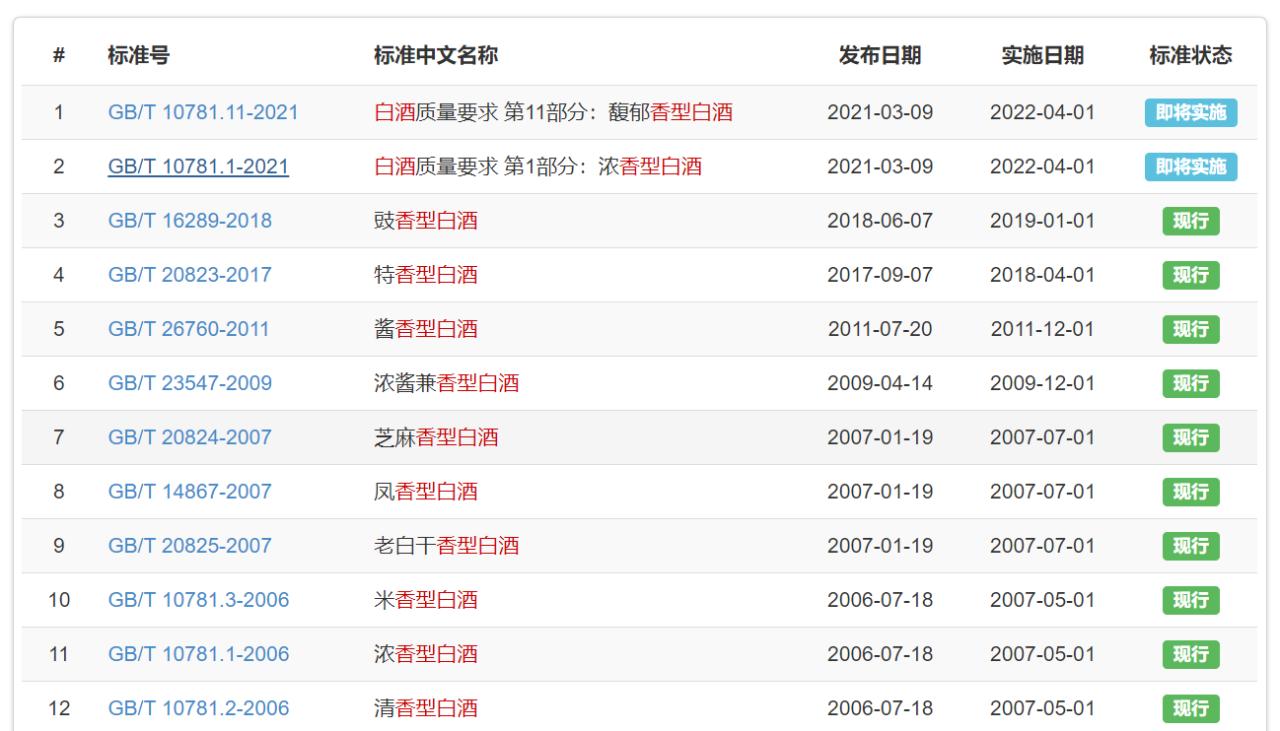
白酒香型的种类2021年3月9日,国家标准批准发布公告2021年第3号,其中发布了馥郁香型白酒的质量标准,另外还对对浓香型白酒的标准进行的更新替换(标准编号:GB/T 10781.11-2021,2022年4月1号实施)。根据国家标准目录,白酒香型目前共有十一种。

每一种香型都有自己的特征和酿造工艺,有的差别比较大,有的是在已有香型的基础上进行的工艺创新。
1、酱香型
酱香型也称茅香型,属大曲酒类。其酱香突出,幽雅细致,酒体醇厚,回味悠长,清澈透明,色泽微黄。
酱香酒的口感较重,带有一种焦香、糊香、熏香等感觉,味道比较冲,酒的度数一般比较高,50°以上,如果没喝过的人第一次喝可能不太适应,特别是北方人,喝浓香和清香比较多,突然和酱香,可能不大适应。
酱香酒的品尝,一般是喝一口酒在口中感受一下慢慢的下咽,能感觉到香味随着喉咙往下走,喝完之后再喝一口矿泉水,然后再喝酒、和矿泉水。
典型代表:茅台酒、郎酒、国台酒、贵酒

2、浓香型
采用老窖位发酵生香基地,窖愈老,窖泥中的酿酒微生物愈多,生产的酒愈好。浓香型白酒其酒味芳香浓郁,绵柔甘烈,香味协调,绵甘适口,回味悠长。
曾经,五粮液打遍全国无敌手,2013年受全国高端白酒行业调整的影响,五粮液被茅台赶超,到现在,已经被茅台酒超出了近一倍。
典型代表:五粮液、泸州老窖、剑南春

3、清香型
清香型白酒:亦称汾香型,属大曲酒类。它入口绵,落口甜,香气清正。
清香型白酒以高梁等谷物为原料,以大麦和豌豆制成的中温大曲为糖化发酵剂,采用清蒸清糟酿造工艺、固态地缸发酵、清蒸流酒,强调“清蒸排杂、清洁卫生”,即都在一个“清”字上下功夫,“一清到底”。
典型代表:山西汾酒、汾阳王酒、浙江同山烧、河南宝丰酒、厦门高粱酒

4、米香型
以桂林三花酒为代表的一类小曲米液,是中国历史悠久的传统酒种。米香型酒酒香清柔、幽雅纯净、入口柔绵、回味怡畅、给人以朴实纯正的美感。米香型酒的香气组成是乳酸乙酯含量大于乙酸乙酯,高级醇含量也较多,共同形成它的主体香。
在江南一带,年纪稍微大一点的人最忘不了的应该就是土作坊自己酿制的烧酒了。这种烧酒被称为小曲酒,这种酒喝起来不烈,酒液入口后会有一种蜜香的感觉,很舒服。
典型代表:桂林三花酒

5、兼香型
兼香型白酒也叫浓酱兼香型白酒,就是利用浓香型白酒酿制工艺和酱香型白酒酿制工艺相结合生产出来的白酒,具有一酒多香的特点,一般均有自己独特的生产工艺。
典型代表:湖北白云边酒、黑龙江玉泉酒

6、凤香型
凤香型白酒,以高粱为原料,是以大麦和豌豆制成的中温大曲或麸曲和酵母为糖比发酵剂,采用续馇配料,土窖发酵(窖龄不超过一年),酒海容器贮存等酿造工艺酿制而成。
西凤酒也是中国白酒瑰宝之一。在1952年的时候西凤酒和贵州茅台、四川泸州老窖、山西汾酒一起被评为“中国四大名酒”。西凤酒的香气醇香秀雅、口感甘润挺爽,酒液入口后就给人一种爽快、挺拔的感觉,非常带劲。
典型代表:陕西西凤酒

7、芝麻香型
芝麻香型白酒是以芝麻香为主体,兼有浓、清、酱三种香型之所长,故有“一品三味”之美誉。是酿造技术难度最大,酿造条件要求最高,对环境要求最严格的一个香型,堪称白酒中的贵族香型!
典型代表:山东的一品景芝、扳倒井

8、豉香型
豉香型白酒是珠江三角洲地区独有的一个酒种,因其具有突出的豉香味而得名。以纯大米为原料,大酒饼为糖化发酵剂,采用边糖化边发酵的半固态发酵法工艺,因其具有突出的豉香味而得名。
典型代表:广东江湾玉冰烧

9、特香型
特香型白酒,以整粒大米为主要原料,以中高温大曲为糖化发酵剂(大曲原料为面粉、麦麸、酒糟按一定比例混和均匀),经传统固态法发酵、蒸馏、陈酿、勾兑而成。特香型白酒的香味成分具有以下特征:富含奇数碳脂肪酸乙酯,其含量为各种香型白酒之冠。
典型代表:江西的四特酒和临川贡酒

10、老白干香型
老白干香型于2004年正式列入中国白酒的香型,其特点是香气清雅,自然协调,绵柔醇调,回味悠长。
典型代表:河北衡水老白干

11、馥郁香型
馥郁香型白酒国家标准认定的最年轻的一个香型,具有"色清透明、诸香馥郁、入口绵甜、醇厚丰满、香味协调、回味悠长“的风格"和"前浓、中清、后酱"的独特口味。
典型代表:湖南酒鬼酒

白酒香型的区分
虽说国家标准认定的有是十一种香型,但是总体上都是在酱香型、浓香型和清香型的基础上发展或进行的工艺创新。三者主要的口味特点为:
酱香型酒:酱香突出、幽雅细腻、酒体醇厚、回味悠长。
浓香型酒:窖香浓郁、绵甜甘冽、香味协调、尾净香长。
清香型酒:清香纯正、诸味协调、醇甜柔口、余味爽净。

总结
白酒的香型只是对白酒特征的一个人为划分,也是为了让人们好区分每一种酒都有什么特点。说实话,香型对于白酒来说不是最关键的,只要是纯粮食酿造就是好酒。不造假、不要人为勾兑,让大家喝着放心才是关键,大家说是不是?